Home Meine Anlage Technik Fstand Fahrt Gleispläne Links

Getreidewagen Tgpps

Baubeschrieb | Das Modell | Galerie | Download | Shop


Getreidewagen Tgpps

Der zweiachsige Getreidewagen Tgpps aus den 60er Jahren eignet sich hervorragend für meine Nebenbahn. Den typisch schweizerischen Güterwagen gab es jedoch nur als horrend teures Messingmodell von WABU und es ist schon lange nicht mehr erhältlich.

Also war Selbstbau angesagt. Der Wagen hat einen kompakten Aufbau mit einer relativ einfachen Abwicklung. Ein gutes Projekt für den fortgeschrittenen Anfänger... ;-)

Baubeschrieb

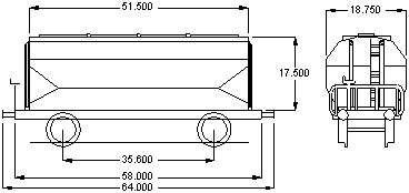
In der Broschüre "SBB Güterwagen" (Hrsg: Generalsekretariat SBB, Bern 1997) ist ein Bild und eine Typenskizze des Wagens. Leider ist keine Dachansicht dabei. Diese ist gerade bei Wagen, welche für die Beladung bestiegen werden, wichtig wegen der Dachlaufstege. Also musste eine Zeichnung her (danke Philippe!). Als erstes wurde ein passendes Fahrgestell gesucht (Roco Lüp 64mm, Radstand 35.6mm - z.B. Nr. 25074) und eine Typenskizze im Massstab 1:160 erstellt.

Getreidewagen Tgpps (Typenskizze)

Aus der Typenskizze wurde dann in einem zweiten Schritt die Abwicklung konstruiert unter Berücksichtigung der geplanten Materialstärke von 0.3mm.

Getreidewagen Tgpps (Abwicklung)

Der Wagen kann aus Karton oder Messing gebaut werden. Da ich mit Messing selber ätzen lassen keine Erfahrung habe, habe ich mich für Karton entschieden. Da das Gewicht des Kartons vernachlässigbar ist, braucht der Wagen ein neues Ballastgewicht von ca. 11.5g, was einem Stahl- oder Messing-Klötzchen 8x8x23mm entspricht.

Getreidewagen Tgpps (Prototyp 1)

Nach 1 1/2 Tagen CAD war es soweit: Der erste Prototyp wurde mit dem Cutter ausgeschnitten und zusammengeklebt. Eine besondere Herausforderung bildete dabei die Bremserbühne und die Aufstiegsleiter, welche ebenfalls aus Karton hergestellt sind. Die stirnseitigen Verstärkungen sind beim Prototyp aus Balsaholz 1x1mm.

Getreidewagen Tgpps (Prototyp 1)

Der Kartonaufbau ist keineswegs besonders fragil. Die Handhabung mit normaler Sorgfalt, wie bei Spur N sowieso erforderlich, erträgt der Wagen problemlos.

Beim Bau des Prototyps habe ich wichtige Erkenntnisse gewonnen. Darauf habe ich die Abwicklung an manchen Stellen nochmals umkonstruiert.

Das Modell

Während der Besprechung bei spur-N-schweiz habe ich festgestellt, dass das Interesse an dem Wagen gross ist, jedoch hat dort niemand nennenswerte Erfahrung mit der Spritzpistole und Nassschiebebildern. Damit wurde die Lackierung und Beschriftung des Wagens zum Problem. Ich habe daher einen Versuch gemacht mit farbig bedrucktem festem Papier (160g/m2 = 0.2mm dick). Die Bedruckung wurde von Vorbildfotos adaptiert.

Getreidewagen Tgpps
Klicken für grosses Bild

Nach einer weiteren Woche war es soweit: Das erste Modell konnte dem Betrieb übergeben werden. Die stirnseitigen Verstärkungen sind nun ebenfalls aus Karton. Alle Schnittkanten wurden mit Wasserfarbe farblich angeglichen. Der fertige Wagenkasten wurde mit farblosem Mattlack aus der Spraydose versiegelt.

Getreidewagen Tgpps
Klicken für grosses Bild

Ursprünglich wollte ich die Kleinteile mit Laser aus Karton schneiden lassen. Das ergibt extrem passgenaue Schnitte, und auch dreidimensionale Gravuren der Gitter bei den Dachlaufstegen sind möglich. Beim Modell auf dem Foto sind die Gitter bei den Dachlaufstegen und der Bremserbühne nur aufgedruckt.

Getreidewagen Tgpps von oben
Klicken für grosses Bild

Insgesamt sind mit den Deckeln auf dem Dach, den stirnseitigen Verstärkungen und dem Chassis genügend dreidimensional strukturierte Teile vorhanden, sodass ein ansprechender Gesamteindruck entsteht. Es geht also auch ohne Laser :-) Alle Teile, auch das Geländer der Bremserbühne, sind mit dem Cutter ausgeschnitten.

Getreidewagen Tgpps in der Schachtel

Zur Abrundung des Projekts habe ich noch einen neuen Schachteleinsatz gebaut, bei welchem das Geländer der Bremserbühne optimal geschützt ist.

Getreidewagen Tgpps vor der Endmontage

Die Bauzeit pro Wagen beträgt rund vier bis fünf Stunden. Hier eine Übersicht auf die benötigten Teile, vorbereitet für die Endmontage:
- Schachteleinsatz
- Wagenkasten und Bremserbühne
- Gewicht 8x8x23mm = 12g
- Chassis LüP 64mm

 


Galerie

Galerie

Galerie

Galerie

Galerie

Galerie

Galerie

Galerie

Galerie

Galerie

Galerie

Galerie

Galerie

 


Download

Hier findest du den Bastelbogen in verschiedenen Farbvarianten und eine detaillierte Bauanleitung.

Drucke den Bastelbogen auf festes Papier (160g/m2). Solches gibt es in jeder Papeterie oder (billiger) im nächsten Copy Shop. Verwende einen Farblaserdrucker! Ausdrucke von Tintenstrahldruckern sind zu wenig lichtecht.

Tgpps Bauanleitung (pdf, 114kB)
Schneidanleitung für die Bremserbühne
DXF-Datei zum Laserschneiden der Kleinteile (zip, 80kB) (optional)
(Beachte die Hinweise zur Verarbeitung der Laserkleinteile)
 

Tgpps violett mit Ähre
Klicken für grosses Bild | Dachansicht | Vorbildfoto: Roco
Tgpps Bastelbogen violett mit Ähre (pdf, 217kB) Epoche IV

Tgpps grau
Klicken für grosses Bild | Dachansicht | Vorbildfoto: Peter Hürzeler
Tgpps Bastelbogen grau (pdf, 150kB) Epoche IV-V

Tgpps grau altes Logo
Klicken für grosses Bild | Dachansicht | Vorbildfoto: Peter Hürzeler
Tgpps Bastelbogen grau altes Logo (pdf, 152kB) Epoche III-IV

Tgpps braun
Klicken für grosses Bild | Dachansicht | Vorbildfoto: Peter Hürzeler
Tgpps Bastelbogen braun (pdf, 151kB) Epoche IV-V

Tgpps braun altes Logo
Klicken für grosses Bild | Dachansicht | Adaptiert ab Foto Peter Hürzeler (s.o.)
Tgpps Bastelbogen braun altes Logo (pdf, 152kB) Epoche III-IV

Tgpps braun BLS
Klicken für grosses Bild | Dachansicht | Vorbildfoto: Silvan Schwab
Tgpps Bastelbogen braun BLS (pdf, 148kB) Epoche IV

Tgpps blau Sauvin-Schmidt
Klicken für grosses Bild | Dachansicht | Vorbildfoto: Silvan Schwab
Tgpps Bastelbogen blau Sauvin-Schmidt (pdf, 172kB) Epoche IV

Tgpps gelb Feldschlösschen
Klicken für grosses Bild | Dachansicht | Vorbildfoto: Etienne Dehasse
Tgpps Bastelbogen gelb Feldschlösschen (pdf, 179kB) Epoche IV

Tgpps grüngelb ETRA
Klicken für grosses Bild | Dachansicht | Vorbildfoto: Peter Hürzeler
Tgpps Bastelbogen grüngelb ETRA (pdf, 175kB) Epoche V

Tgpps blau Zuckerfabrik
Klicken für grosses Bild | Dachansicht | Vorbildfoto: SBB
Tgpps Bastelbogen blau ZAF (pdf, 216kB) Epoche IV

Tgpps hellblau Zuckerfabrik
Klicken für grosses Bild | Dachansicht | Vorbildfoto: Peter Hürzeler
Tgpps Bastelbogen hellblau ZAF (pdf, 216kB) Epoche V

Tgpps schwarz-grau-grün Ciba-Geigy
Klicken für grosses Bild | Dachansicht | Vorbildfoto: SBB
Tgpps Bastelbogen schwarz-grau-grün Ciba-Geigy (pdf, 152kB) Wagen für den Transport von Anthrazen. Epoche IV

 

Benötigtes Material für 1 Wagen
1 Bastelbogen DIN A4
1 Bogen Kleinteile, lasergeschnitten (optional)
1 Chassis LüP 64mm / Achsstand 35.6mm von Roco, z.B. Nr. 25074
1 Gewicht (Messing oder Stahl) 8x8x23mm
div. Wasserfarben
Spraydose mit farblosem Mattlack

 

 

Shop

Bastelbogen
Bastelbogen ausgedruckt auf Papier
Der Bastelbogen ausgedruckt mit Farblaserdrucker auf Papier 160g/m2. Farbvariante nach Wahl.
CHF 2.00 / Stück plus CHF 1.00 Versandkosten

Kleinteile
Kleinteile lasergeschnitten
Die Kleinteile zum Bastelbogen, geschnitten und graviert mit Laserstrahl. Danke an Stefan T für den Laserschnitt!
(Beachte die Hinweise zur Verarbeitung der Laserkleinteile)
*** nicht mehr lieferbar ***

Gewicht
Gewicht 8x8x23mm (12g)
Das Gewicht für den Getreidewagen. Aus Messing, 12g schwer.
CHF 3.00 / Stück plus CHF 1.00 Versandkosten

Fahrgestell mit Schachtel
Fahrgestell mit Schachtel
Ein Roco Güterwagen als Fahrgestell-Spender. Neu oder revidiert, mit Originalverpackung. (Hinweis: Farbe und Beschriftung des gelieferten Wagens kann vom Foto abweichen. Das Fahrgestell ist jedoch immer schwarz.)
*** nicht mehr lieferbar ***


Das Kleingedruckte:
Bestellung per Email. Nach der Bestellung erhältst du eine Email-Rechnung. Lieferung grundsätzlich per Post und erst nach Zahlungseingang. Unversicherter Versand auf Risiko des Käufers. Versand erfolgt nur innerhalb der Schweiz. Liefermöglichkeiten vorbehalten (solange Vorrat). Keine Rücknahme, ausser bei Defekt. Fertigmodelle sind in Handarbeit erstellt und können daher gewisse Unregelmässigkeiten aufweisen, was keinen Mangel darstellt.
Der Shop verfolgt keine Gewinnabsicht. Der Shop ist eine Dienstleistung für Modellbahner, die Interesse am Nachbau des Getreidewagens haben. Es besteht kein Kaufzwang. Der Download der Bastelbögen ist kostenlos. Jedermann ist frei, sich die benötigten Teile anderweitig zu besorgen.

 

Hinweis: Meist fehlt mir die Zeit, die Wagen auch für andere herzustellen. Aber du kannst ihn selbst bauen. Das ist relativ einfach mit dem Bastelbogen. Und wenn es daneben geht, wird einfach ein neues Exemplar ausgedruckt und man kann nochmals beginnen. Und bald stellt sich auch etwas Übung ein.

Hinweis: Die dunklen Wagen sind einfacher zu bauen als die hellen, weil Farbkorrekturen an den Kanten bei dunklen Farben einfacher angebracht werden können. Am schwierigsten ist der hellblaue Wagen.

Tipp: Fahrgestell und Gewicht werden erst ganz am Schluss benötigt. Du kannst deine Fähigkeiten ohne Kostenaufwand testen - und erst wenn dir das Resultat gefällt, holst du dir ein Fahrgestell von Ebay.

 


Änderungsgeschichte
09.06.2007 Download: Drei Wagen (Blau Sauvin-Schmidt, Blau ZAF und Schwarz-grau-grün Ciba-Geigy) hinzugefügt. Damit sind alle 12 bekannten Varianten im Modell verfügbar. Hinweise zu den Laserkleinteilen hinzugefügt. Galerie: Weitere Bilder hinzugefügt.
02.06.2007 Shop hinzugefügt. Download: Bilder der vier fertigen Wagen (Grau altes Logo, Braun altes Logo, Braun BLS, Gelb Feldschlösschen) hinzugefügt. Beim grüngelb ETRA das Geländer auf schwarz geändert.
28.05.2007 Bauanleitung: Punkte 6,10,23 geändert. Bastelbogen: Nummerierung der Klebelaschen angepasst. Download: Bastelbogen für grau (altes Logo), braun (altes Logo), braun (BLS) und gelb (Feldschlösschen) hinzugefügt. Epocheangaben hinzugefügt.
19.05.2007 Schneidanleitung für die Bremserbühne hinzugefügt.
18.05.2007 Bastelbogen: Stützen der Dachlaufstege (Teil 3) vereinfacht. DXF Laserfile angepasst. Bauanleitung: Punkte 3,4,6 geändert. Download: Wagen 4 (grüngelb) und 5 (hellblau) hinzugefügt.
14.05.2007 Bastelbogen: Schachteleinsatz geändert. Boden auf Breite 12.5 reduziert. Halter für Teil 5 hinzugefügt. Nummern der Klebelaschen geändert. Bauanleitung angepasst. Download: Wagen 2 (grau) und 3 (braun) hinzugefügt.
13.05.2007 Wagen 1 (violett) und Bastelbogen (violett, braun, grau) hinzugefügt.
06.05.2007 Prototyp 1 veröffentlicht.


nach oben
Home | Meine Anlage | Technik | Führerstandfahrt | Gleispläne | Links | Sitemap

Technik: | Fahrzeuge | Landschaft | Fahrstrom | Weichen | Signale |
Digital | Verschiedenes

Fahrzeuge: | Steuerwagen | Getreidewagen | Ladegüter | Globi-Lok | Kamerazug | Stromabnehmer | Ersatz-Puffer | Radsatz | Entkuppler | Faulhabermotoren | Rennsemmeln | Anfahrspannungen
Valid HTML 4.01 Transitional

 

(c) 1998-2022 Felix Geering, Schweiz - Kontakt
 
Manche Rechte vorbehalten. Der Inhalt dieser Seite ist, wo nicht anders angegeben, unter einer Creative Commons Lizenz lizenziert.
 
Creative Commons Lizenz